【学校必备】明年高校毕业生1076万!庞大就业数据统计工作可以这样做!
近日,教育部发布了《关于做好2022届全国普通高校毕业生就业创业工作的通知》,提到完善就业统计发布机制:
1.加强就业统计核查。完善毕业生就业进展报送机制,及时汇总、通报就业进展情况。
2.健全就业质量报告制度。高校毕业生就业质量年度报告要准确客观全面反映本校毕业生就业状况、就业工作进展、就业与招生和人才培养的反馈联动等情况。
而据央视新闻报道,2022届高校毕业生规模预计1076万人,同比增加167万人。这是高校毕业生规模首次超千万,也是近几年增长人数最多的一年。
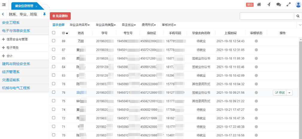
可对毕业生就业信息进行管理以及对就业状态进行追踪,实现信息录入、查询、更新、汇总等功能。系统充分利用了微信在移动互联的信息获取,传递的方便和快捷优势,采用微信小程序和网站管理相结合的形式,更加方便、及时、全面、准确、真实的统计毕业生就业情况,将毕业生就业数据核查与就业状况追踪同步进行,及时掌握毕业生就业动态,协助健全高校毕业生就业状况反馈机制。
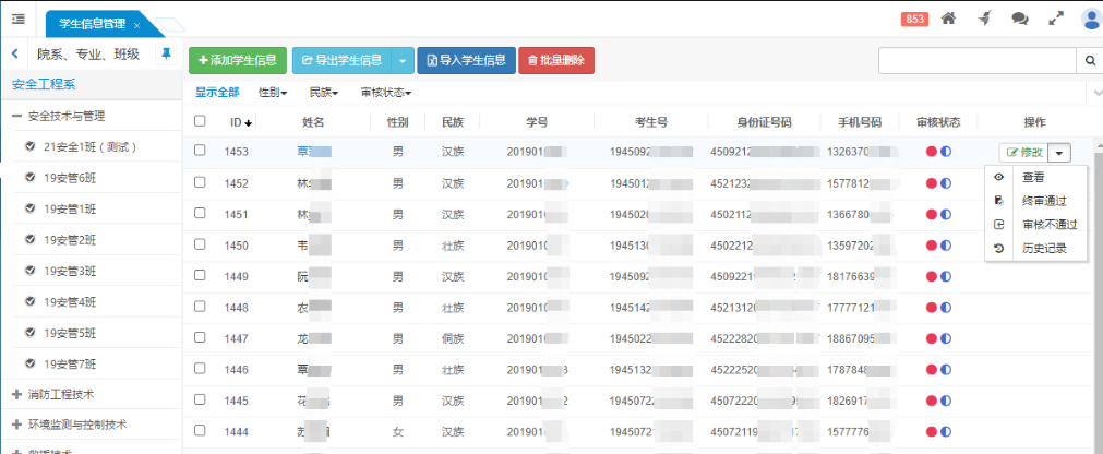
可对毕业生信息进行管理,并支持将毕业生数据通过Excel表格批量导入。
毕业生在小程序中对本人信息进行核对,由管理员进行数据初审及终审后,可将毕业生数据导出Excel表,并导入到教育厅或教育部的系统。

毕业生在小程序中填报就业信息后,管理员在后台对学生提交的就业信息进行初审和终审。审核不通过的就业信息,会微信通知学生进行修改并重新上报。

通过微信二维码进入小程序并将获取到的手机号与毕业生数据进行匹配。

毕业生对本人信息进行核对,如信息有误可在小程序中修改并提交,并由院系用户或辅导员(管理员)进行数据审核。

毕业生根据本人实际情况,选择当前状态(待就业、签就业协议书、前劳动合同、其他录用形式、应征义务兵、自主创业、升学),小程序按照选择的不同形态提供不同的表单、选项供毕业生填写。

扫码进入小程序,系统会自动根据手机号判断是否班主任,并进入班主任工作台。

毕业生就业信息支持多维度统计:


支持行政区划代码管理,以全国统一行政区划代码为准。

支持个人基本信息核对及信息上报的相关配置。
