【学校必备】省教育信息化发展计划出炉,各级各类学校有新任务了!
提到主要任务之一包括:
“组织各级各类学校共同开发体系化的在线课程及配套教学资源,推进“三个课堂”建设和应用,创新教育资源供给方式和教学组织形态,丰富学习方式,优化教学评价,构建支撑大规模个性化教学的互联网学校。”

动易在线学习管理系统以校园网为依托,为学校提供了方便快捷、功能多样的在线学习平台。包括学习资料设置、学习时长设置、在线学习、查看学习记录等功能。整合学校教学资源,提高其利用效率,打造网络化的课堂环境;丰富教学手段,开展多样化教学, 给师生提供了有利的学习支持;激发学生的学习热情和兴趣,有利于调动学生的学习积极性和培养他们的自主学习能力。
在线学习模式中,学习者可自主安排学习地点、时间、进度、学习内容,既能有效率的学习,也不用担心时间上的冲突。可以随时随地反复学习。
基于网络进行在线学习,课程可以反复利用、长久保存,相比线下学习的时间金钱,成本大大降低了。
相较于传统的图文、表格课程内容,在线学习资料可支持图文、视频、H5、Flash等多形式课程,课程内容风趣多变,让学习者学习起来不会觉得烦闷。
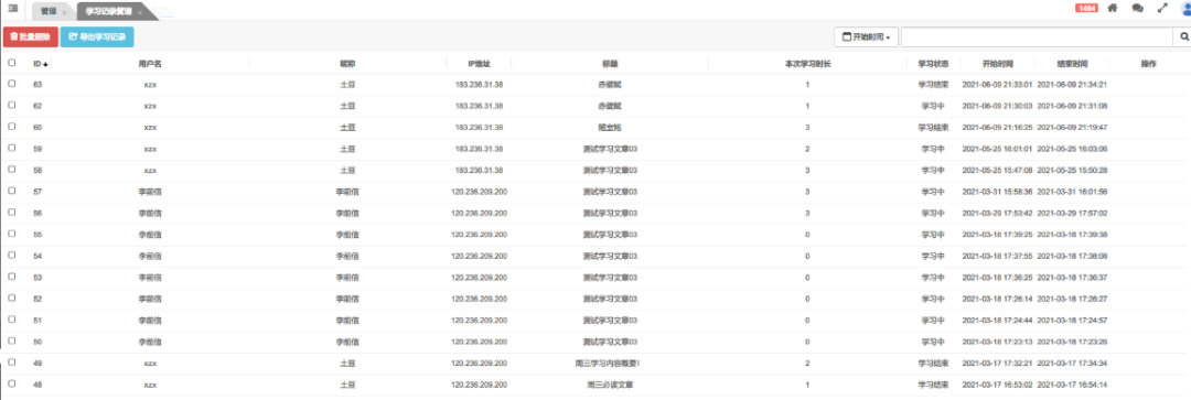
教师可以全程掌控学习者的学习情况、跟踪学习效果、反馈考试成绩,快速生成各类报表,根据数据反馈可以了解学员学习情况并调整课程内容。
线上和线下教育融合,可拓展现实教育的时间和空间维度,提升传统教育的管理、运行效率,扩展传统校园的业务功能,重新打造学校教育形态。
可使用内容管理中的文章、视频、图片等作为学习资料来源,方便、快捷的对学习资料进行添加和管理,且课件形式多样化。

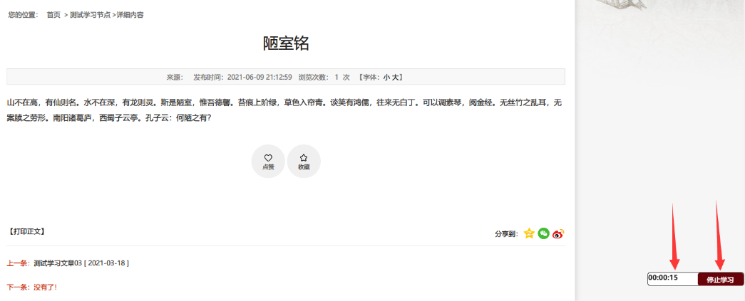
系统在学习资料中引入了一个“学习时长”的概念,比如5000字的文章,设定了学习时长是8分钟,学习者需要在学习资料中停留足够的时间,才能算是“学习完了"。

学习者学习文章、视频等学习资源时,平台会会显示一个学习时长计时器,显示已经学习了多久时间。如果用户长时间不动页面,系统则会弹窗要求手动点击按钮,以确认用户是否还在屏幕前学习。

在线学习同时支持手机版,在你坐地铁、等公车、排队打新冠疫苗、做核酸检测时都能满足你方便快捷的在线学习需求:

在后台,管理人员可以多角度查看所有人的学习记录,并可导出统计结果。而学习者可以登录会员中心可以查看自己的学习时长、学习记录。此外,用户对比较感兴趣的内容、栏目,可在会员中心自行订阅,系统将自动推送该相关数据。

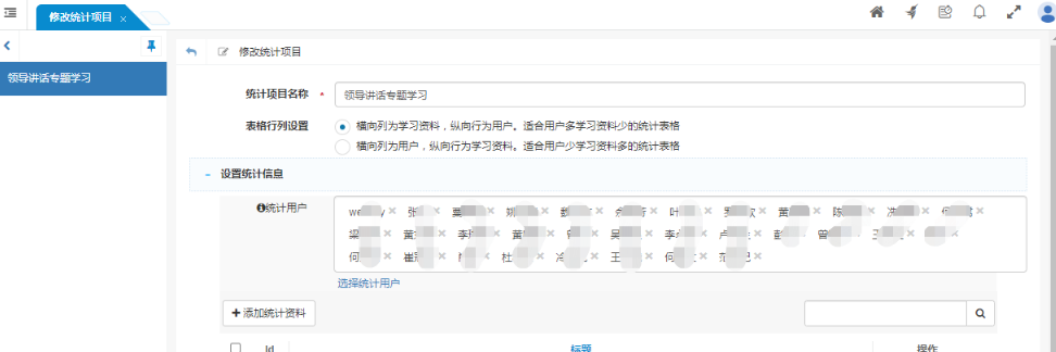
“学习情况统计”功能,可以统计指定用户对指定学习资料的学习情况。还可以导出统计表数据到Excel中。
