【高校必备工具】毕业生就业信息追踪系统和新生报到管理系统
随着云计算、大数据、移动互联等新技术不断涌现,智慧校园建设已经成为各大高校发展的主旋律。在实施教育数字化战略行动背景下,动易公司以国家教育信息化政策为指导,以信息技术与教育教学深度融合为核心理念,提供教育信息化产品和智能化服务。
毕业生就业信息追踪系统
(网站+微信小程序)
动易毕业生就业信息追踪系统可对毕业生就业信息进行管理以及对就业状态进行追踪,实现信息录入、查询、更新、汇总等功能。
系统充分利用了微信在移动互联的信息获取,传递的方便和快捷优势,采用微信小程序和网站管理相结合的形式,更加方便、及时、全面、准确、真实的统计毕业生就业情况,将毕业生就业数据核查与就业状况追踪同步进行,及时掌握毕业生就业动态,协助健全高校毕业生就业状况反馈机制。
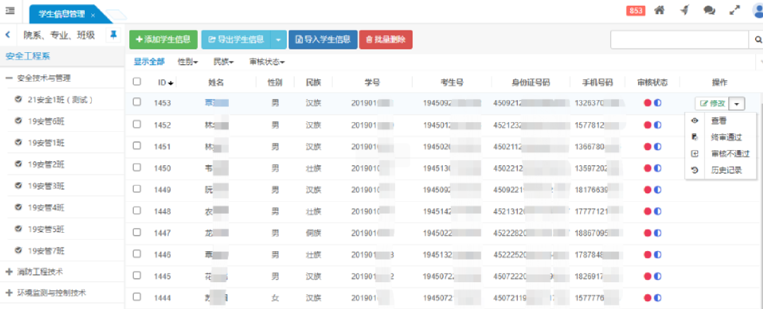
可对毕业生信息进行管理,并支持将毕业生数据通过Excel表格批量导入。毕业生在小程序中对本人信息进行核对,由管理员进行数据初审及终审后,可将毕业生数据导出Excel表,并导入到教育厅或教育部的系统。

毕业生在小程序中填报就业信息后,管理员在后台对学生提交的就业信息进行初审和终审。审核不通过的就业信息,会微信通知学生进行修改并重新上报。

通过微信二维码进入小程序并将获取到的手机号与毕业生数据进行匹配。

毕业生对本人信息进行核对,如信息有误可在小程序中修改并提交,并由院系用户或辅导员(管理员)进行数据审核。
毕业生根据本人实际情况,选择当前状态(待就业、签就业协议书、前劳动合同、其他录用形式、应征义务兵、自主创业、升学),小程序按照选择的不同形态提供不同的表单、选项供毕业生填写。
扫码进入小程序,系统会自动根据手机号判断是否班主任,并进入班主任工作台。

毕业生就业信息支持多维度统计:

可对院系、专业、班级进行多方面管理工作。

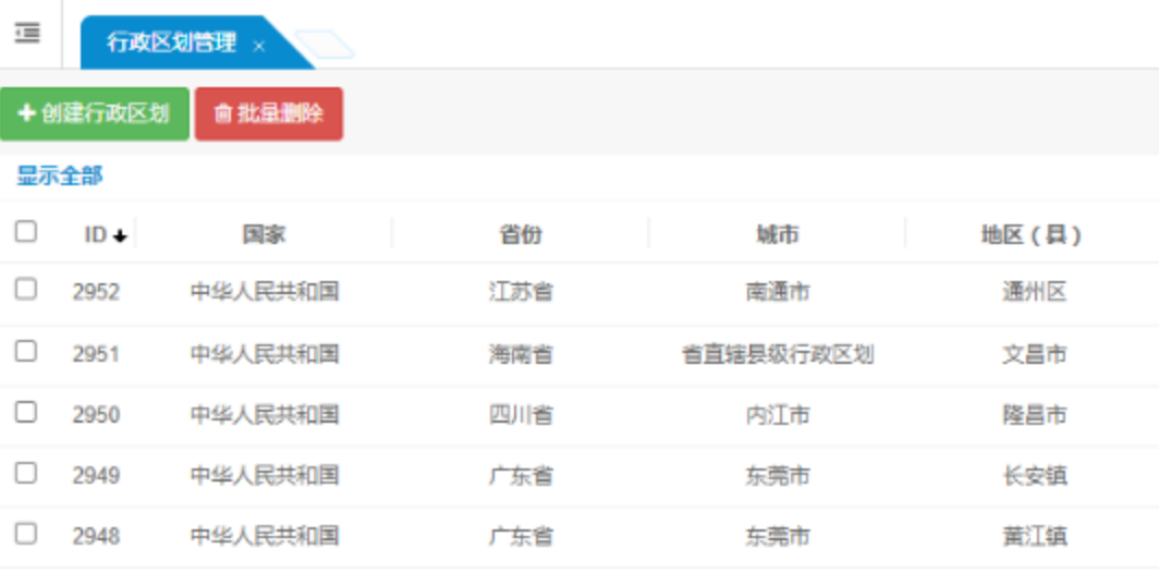
支持行政区划代码管理,以全国统一行政区划代码为准。

支持个人基本信息核对及信息上报的相关配置。

新生报到管理系统
(网站+微信小程序)
动易新生报到管理系统针对新生入学报到的数据处理要求,可以实现新生微信报到、班主任工作台、新生数据统计分析、报道项目管理 、后台院系/专业/班级管理等功能。通过友好的用户界面为用户提供良好的信息服务,减少信息交流过程中及其带来的繁琐与开销,不仅方便新生的繁杂的入学报道,也更有利于学生信息的管理,为学校管理人员提供了科学有效的学生信息管理/处理能力,节约大量的人力物力资源。
实现以下目标:
支持学校规范化管理工作
支持学校高效的完成新生报到的工作
支持学校的数字化和无纸办公
每一年在后台中创建一个新生报到项目并进行管理。
可以对新生的信息进行管理,支持将新生数据通过Excel表格导入到报到项目。
完成新生报到后,也可将经过学生确认的数据导出到Excel。
班主任登录后可查看本人管辖的班级,班级学生信息列表和学生报到情况。
新生扫描小程序码,进入小程序。小程序自动申请获取当前微信绑定的手机号,并将手机号与新生报到数据进行匹配。匹配成功后,显示新生院系、专业、班级、个人信息等信息,新生确认个人信息后,系统生成二维码。
新生拿着身份证、录取通知书和手机(显示二维码截图)给班主任确认,班主任扫码二维码,确认无误后,点击“确认报道”,即可完成学生报到手续。
班主任扫码进入小程序,小程序自动申请获取当前微信绑定的手机号,系统会自动根据手机号判断是否班主任,并进入班主任工作台。
班主任可以扫描学生的报到二维码进行验证,也可以查看未报到/已报到的学生列表。
支持统计报到项目中的新生数据情况,包括:
1.统计生源地分布与各地新生数量排行。
2.按系部班级分组查看已/未报到新生人数。
3.按时间查看报道流量趋势曲线图。
可以配置在新生报到中启用的院系部门,并支持进行专业、班级信息的添加、删除、修改、查看等功能。
班级创建完成后,可以为班级设置一个班主任(后台管理员账号)。